
Первая глава визуального исследования посвящена изучению способов и эстетики воплощения схем и инструкций в работах художников XX–XXI веков.
Она охватывает как графические схемы, так и текстовые инструкции, анализируя способы передачи идей, воплощенные в материальные объекты.
- Графические схемы
Самым распространённым видом инструкций являются простые графические схемы.
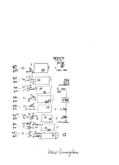
Джон Кейдж использовал этот тип в своих зарисовках для сценариев концертов, а Мерс Каннингем применял аналогичный подход в контексте современного танца. Такие схемы представляют собой стандартизированные визуальные элементы, обеспечивающие последовательность и повторяемость действий.


Джон Кейдж, Концерт для фортепиано с оркестром, 1958-1960

Мерс Каннингем, Гладкий, потому что неровный, 2019
- Текст и наброски
Одним из видов визуального представления инструкций является текст. Такой подход подразумевает описание процесса, но не даёт зрителю готового образа результата.
Йоко Оно в своих произведениях, таких как «Инструкции к картинам» (1961/1962), предлагала зрителю лишь идею, оставляя пространство для воображения.

Йоко Оно, Инструкции к картинам, 1961/1962
Йоко Оно, Инструкции к картинам, 1961/1962
Иногда в более поздних её работах, например в книге «Грейпфрут» (1964), встречаются простые зарисовки, фиксирующие смысловую нагрузку написанного текста.


Йоко Оно, Грейпфрут, 1964
Йоко Оно, Экспозиция в Москве, 2019
Работы Лоуренса Вайнера представляют собой не только инструкции, но и утверждения, приобретающие визуальный и даже провокационный характер.


Лоуренс Вайнер, Книга художника Лоуренса Вайнера, 1992
Лоуренс Вайнер, Стена, пробитая одним выстрелом из пневматической винтовки, 1969
Его произведения охватывают как текстовые утверждения, так и визуальные конфликты, которые вызывают диссонанс и заставляют зрителя задуматься.
Лоуренс Вайнер, Взято Отсюда Туда, Откуда Оно Пришло и Принято в Место и Использовано Таким Образом, Что, 1980 год
Джон Балдессари, Восемь красочных внутренних дел, 2017
- Сборка и реализация
Вторым значительным блоком первой главы исследования являются графические инструкции по «сборке» или «реализации» объектов.
Подобные произведения напоминают как четкие чертежи, так и легкие наброски.


МаркМандерс, Предварительный план этажа Марка Мандерса: Автопортрет как здание, 2002
Марк Мандерс, План первого этажа: Автопортрет как здание, 1986
Сол Левитт, Рабочий рисунок для настенного рисунка № 260, 1978
Сол Левитт и Карл Андре создавали детальные схемы для создания своих произведений, делегируя основной процесс другим исполнителям.
Сол Левитт, Настенный рисунок № 260, 1975
Сол Левитт, Настенные рисунки, 1970-1980


Карл Андре, Без названия, 1968


Сол Левитт, Вариации с неполными разомкнутыми кубами, 1974
Джон Балдессари также активно делегировал процесс создания своих произведений. Его инструкции были как текстовыми, так и графическими, включая копии его авторского почерка для точного воспроизведения.
Джон Балдессари, Я больше не буду создавать скучное искусство, 1971
Джон Балдессари, Я больше не буду создавать скучное искусство, 2002
Инструкции могут касаться не только создания, но и интерпретации произведений. Такой подход часто имеет ироничный характер и помогает зрителю лучше понять авторский замысел, как, например, в работах Марселя Дюшана.
Марсель Дюшан, Невеста, раздетая догола своими холостяками, 1915–1923
Вывод:
В данной главе автор поднял эстетический вопрос визуального воплощения схем и инструкций. Методология графического исполнения имеет три основных вектора: четкие схемы, легкие скетчи и текст.